Пневмопривод двойного действия в алюминиевом корпусе М35
Пневмопривод двойного действия в алюминиевом корпусе М35

ТЕХНИЧЕСКИЕ ХАРАКТЕРИСТИКИ ПНЕВМОПРИВОДА M7
Давление подачи воздуха (Бар)

| Модель | 2 | 2,5 | 3 | 3 | 4,5 | 5 | 5,5 | 6 | 7 | 8 |
| М-35 | 66 | 83 | 99 | 132 | 149 | 165 | 182 | 198 | 231 | 264 |
Привод двойного действия:
Предлагаемый запас надежности для приводов двойного действия при нормальных
условиях работы составляет 20–30%.
Пример:
Требуемый крутящий момент для клапана= 100Н∙м.
Крутящий момент с учетом запаса надежности (1+ 30%)= 130Н∙м.
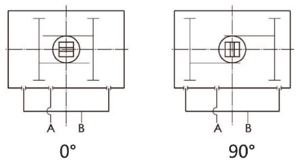
ПРИНЦИП РАБОТЫ ПНЕВМОПРИВОДА
ПРОТИВ ЧАСОВОЙ СТРЕЛКЕ

Воздух, поступающий через отверстие A, толкает поршни наружу, заставляя шестерню
поворачиваться по часовой стрелки, когда он освобождается из отверстия B. Воздух,
поступающий в отверстие B, толкает поршни внутрь, заставляя шестерню поворачиваться
против часовой стрелки, когда он выходит из отверстия A.










