Обратные клапаны на высокое давление 400бар. (40МПа)

Обратные клапаны на высокое давление 400бар. (40МПа)

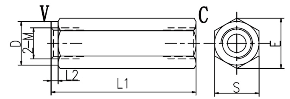
Обратный клапан высокого давления свободно пропускает гидропоток только в одну сторону. Давление открытия клапана устанавливается при производстве обратного клапана и не может изменяться при эксплуатации.
Подключение обратного клапана высокого давления в гидросистему: На порт V подключается напорная магистраль. На порт C подключается линия исполнительного механизма. Поток свободно подается из порта V от напорной магистрали на порт C к исполнительному устройству. В обратную сторону поток не может подаваться.
- Материал: сталь
- Давление открытия: 0,5 бар








